Zatímco Apple kupuje firmu každých pár týdnů, Amazon se zdá, jde spíš cestou inovace a patentů.
Zatímco v roce 2000 měl Amazon 1000 aktivních patentů, dneska je to desetkrát tolik.

Kromě jejich AWS cloudové služby má Amazon nejvíc patentů v oblasti dronů, skladování a logistiky. A dává to smysl, když potřebují vyexpedovat 100 000 000 produktů za den. Tady je 12 mírně šílených patentů v logistice:
Skladování zboží
Sklad pod vodou
Skladování a výběr produktů u objednávky je prostorově i časově neefektivní. Takže si Amazon nechal patentovat sklad ve vodě.

Ve chvíli, kdy daný produkt budete potřebovat, jen pomocí sonaru aktivujete konkrétní balík, tím pustíte vzduch do speciálního obalu a produkt se vyplaví na hladinu. Tam ho umělý proud už jen posune k odběru pomocí automatického pásu.
Vibrující náramky skladníků
Amazon doufá, že spáruje ultrazvuková zařízení v blízkosti zásobníků produktů a nositelných náramků, které pomohou pracovníkům skladu skladovat a načítat položky přesněji.
Vstupní zásoby se obvykle ukládají do zásobníků před regály, což může být obtížné sledovat ve velkých skladech. Vyhledání zásobníků zabírá značné množství času – zejména pokud vypadají stejně a mění obsah každý den.

Náramky dávají skladníkům pomocí vibrace zpětnou vazbu, zda nedělají chybu. Navíc ale sledují pozici nejen skladníka, ale i jeho ruky a měří časy. Amazon argumentuje tím, že skladníkům ušetří koukání se do ručních skenerů.
S ohledem na to, že dělat skladníka za minimální mzdu je dost vysilující práce, vás systém a počítač degraduje na bezduchého robota. Věděli jste například, že když máte do košíku dát 12 stejných produktů, tak vám počítač napovídá: „Vezmi 5. Vezmi 5, Vezmi 2.“? Protože tak sníží o pár procent chybovost.
Brýle s augmentovanou realitou
Pokud vám náramek přišel jako velký bratr, tak z těchto brýlí nebudete mít radost už vůbec. Brýle vám pomůžou najít konkrétní produkt tím, že vám ho označí ve vašem zorném poli a ukáže číslo poličky.

Kromě pozice jsou brýle schopny sledovat vaši polohu, směr vašeho pohledu, jak dlouho spočíváte pohledem na konkrétním místě atd.
Katapultovací robot
Na základě detekce váhy, materiálu, velikosti a dalších vlastností si robot s katapultovací rukou spočítá, jak bezpečně a přesně hodit vybraný produkt do sběrného koše. Tam už si to další robot přebere.

Dodání zboží
Předběžná doprava
Předběžná doprava využívá prediktivní analýzy k přesunu inventáře do geografických oblastí a míst, kde je nejpravděpodobnější nákup. Prediktivní algoritmy využívají lokální trendy ve vyhledávání, procházení webem a nákupů, jakož i položky košíků a wishlistů, aby určily, kdy a kde budou pravděpodobně zadány objednávky. Položky nebo skupiny položek mohou být předem zabaleny a odeslány do stacionárních nebo mobilních skladů v těchto místech.
Dodání předem zabalených objednávek co nejblíže zákazníkovi snižuje náklady na dopravu a podporuje rychlé doručení.
Sklady ve vzduchu
Jednou z možností, jak urychlit dodání zboží je používat vzducholodě jako sklady. Nazval bych je ZePPLin.

Ve výšce 14 km by měly být umístěné stacionární vzducholodě. Mezi zemí a vzducholodí budou lítat drony (menší balíčky) a rakety (větší balíky a lidi). Navíc drony by měly být chytré a v reálném čase sdílet data o počasí.
Doručení padákem
Shazování balíků z nebe má svá úskalí. Zvlášť u křehkých produktů, jako je elektronika a smažené brambůrky. Ideální doručení pro odlehlé a málo zastavěné oblasti.

Amazon má patentovanou technologii, kdy vám z dronu shodí padákem balíček. A aby balíček dopadl přesně na místo, tak ho dron sleduje a balík upravuje svou letovou dráhu pomocí elektromagnetů, pneumatických ovladačů a pružin. Kdyby třeba foukalo nebo tak něco. Navíc může dron zůstat ve vzduchu, šetřit palivo a zamezit poškození nebo odcizení.
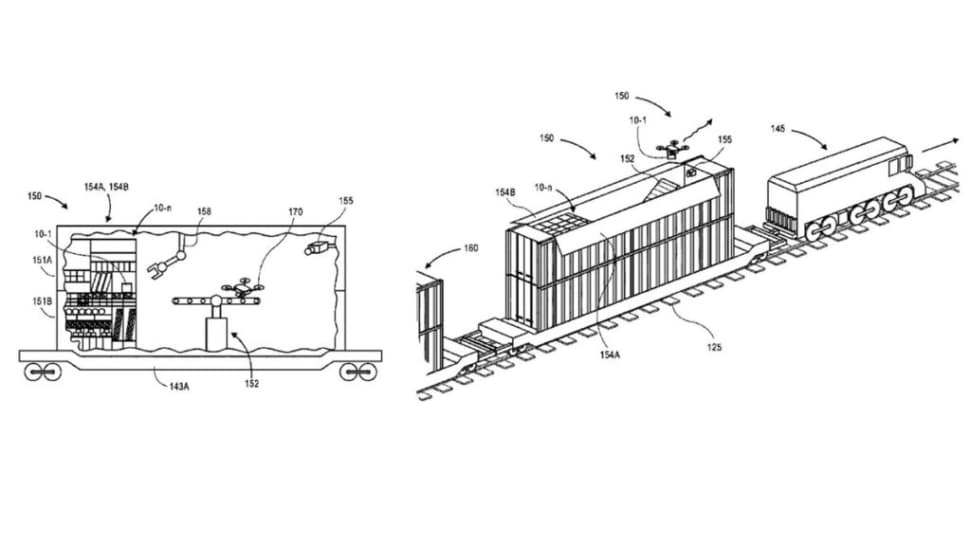
Mobilní kontejnerové sklady
Sklady Amazon plánuje nejen ve vzduchu, ale i na kolejích (a lodích, a tirácích). V blízké budoucnosti se může stát, že z jedoucího vlaku vám budou vylétávat drony s balíčky.

Včelín na drony
Většina velkoskladů je na okrajích měst. Protože jsou velké a placaté. Amazon je chce přesunout do center měst, takže sklady potřebují být hlavně úzké a vysoké. Tak přišel s nápadem tzv. úlu. Vespod budou proudit náklaďáky a shora budou lítat drony s balíčky.

Další legrace
Bezpokladnové obchody AmazonGO
Přiložíte mobil u vstupu, naházíte si věci do tašky a odejdete. Ne, to není návod, jak krást v obchodě. To je 19 poboček AmazonGO. V mobilu se vám ukazuje každá položka, kterou si z pultů dáte do tašky a pak se vám celý nákup automaticky strhne z karty. Navíc se Amazon spojil s Hyundai a chtějí otevřít celé obchodní centrum bez kas (a bez front).
Geniální. A trochu děsivé.
Amazon dodává nemocnicím už léta. V lednu minulého roku se ale spojil s bankou JP Morgan a Berkshire Hathaway a vytvořili neziskovku poskytující zdravotní pojištění. Navíc ale za 735 milionů dolarů koupil Amazon firmu PillPack, kde platíte jen za léky, dodání je zdarma a namíchají vám to po jednotlivých dnech.
Goodbye fronty v lékárnách. A Amazon koupí firmy PillPack získal možnost dodávat léky na předpis ve všech státech USA.

Navíc zdravotnictví v Americe je 4krát dražší na pacienta než v Evropě, takže to tam dává ještě větší smysl. V kombinaci s tím, že vám hlasový asistent poradí s běžnými chorobami a Amazon plánuje koupi firem v TeleMedicine oblasti to bude zajímavé.
Asistent Alexa (ve sluchátkách)
Hlasových asistentů Alexa už se prodalo 100 000 000 ks. A jak Apple, tak Google ví, že tady se bude lámat chleba. Amazon teď přišel s tím, že tohoto hlasového asistenta vnoří do vlastních bezdrátových sluchátek.
Věděli jste, že Alexa podle vašeho hlasu pozná, jakou máte velikost košile? Tedy samozřejmě pokud vám lékaři nezbastlili zdraví nepodařenou operací hlasivek. Jinak toho moderátora po tomhle vyrazili.
Vlastní flotila letadel a elektrických aut
Jeff Bezos chce mít Amazon kompletně karbon neutrální do roku 2040. Proto předobjednal flotilu 100 000 elektrických aut pro vlastní dovážku. Akorát nevím, jak to udělá s těmi 50 letadly v Amazon Air, která chce koupit, aby nebyl závislý na FedExu a spol.

Amazon investuje do samo-řiditelných aut (Aurora) a tiráků (Rivian). Logicky, protože v roce 2018 zaplatil za dopravu vlastního zboží 27 miliard(!) dolarů
Kvantový počítač
No a chuťovka na závěr. Na webu NASA se podle Financial Times na pár minut objevilo, že Google vlastní kvantový počítač. A že spočítal problém, který by trval největšímu současnému superpočítači 10 000 let za … 3 a půl minuty.
Zdroje:
https://patents.google.com/?assignee=amazon&oq=amazon
https://www.forbes.com/sites/louiscolumbus/2019/07/21/10-charts-that-will-change-your-perspective-of-amazons-patent-growth/#3b1c32dd4dc2
https://www.cnbc.com/2019/05/17/amazon-makes-several-start-up-investments-revenue-growth-slows.html
https://www.lovemoney.com/galleries/77190/amazons-future-plans-from-cashless-stores-to-home-robots
https://www.getelastic.com/primed-for-disruption-12-wacky-amazon-patents-fuelling-the-future-of-fulfillment
https://uxdesign.cc/just-walk-out-amazon-go-the-most-convincing-future-of-retail-469b5794d65c
Smysluplná debata